![]() |
![]() |
|||
![]() |
![]() |
![]() |
![]() |
|
![]() |
![]() |
![]() |
![]() |
|
![]() |
||||
Full Mouth Reconstruction with Implant Support (Upper Jaw)
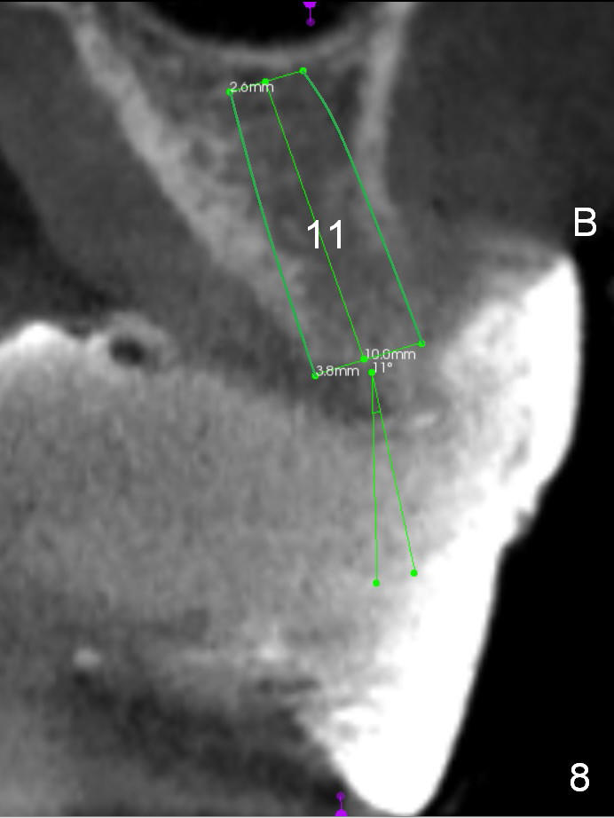
A 54-year-old woman with complete dentures insists upon changing to fixed prostheses, since her existing ones are unstable. They trap food and cause pain, particularly the lower left. Implant supported FPDs (bridges) will be fabricated, eight implants for upper and 6 for lower (Fig.1). Generally, implants are placed at the central incisor, canine, 1st premolar and 1st molar on each side for the upper jaw (totally 4 FPDs), whereas in the lower arch, 3 FPDs are fabricated (between 2 canines, and between 1st premolar and 1st molar). For this patient, the bone height at the sites of #14 (Fig.11) and 19 is limited. So the left 2nd premolars will be the terminal implants (single units, Fig.1).
Implant placement will be divided into 2 stages for each arch. In the 1st one, implants will be placed at #3 and 11-13; the 2nd one, at #5, 6, 8 and 9. After the 1st implant placement, the upper denture will be retained by ball abutments and soft relined (pushed posteriorly). Two or 3 months later, four more implants are placed and a new provisional (pepper & salt technique) are supported by cemented abutments and implants.
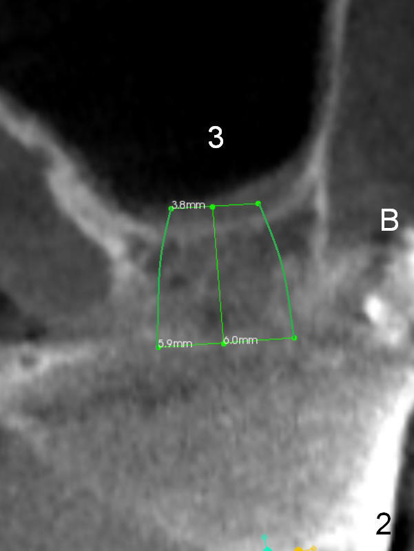
The maxillary bone is soft. Ridge split (at #5/6, and 11-13 (ridge split wheel kit) and bone expansion (bone expander kit and osteotomes) are expected. The site of #3 is wide and short and an extra wide implant is placed with sinus lift (Fig.2 (coronal CT section)).
Return to Full Mouth Reconstruction
Xin Wei, DDS, PhD, MS 1st edition 06/04/2016, last revision 06/23/2016